
Fig 1. Barco en el puerto de Barcelona con las protecciones anti ratas en las amarras./ C. Pradera 05-2017
C. Pradera, Barcelona, 16-05-2017
A finales del siglo XIX el médico Alexandre Yersin descubrió que una bacteria, a la que posteriormente llamaron Yersinia pestis en su honor, era la responsable de la peste. Y también descubrió que esta bacteria causaba la misma enfermedad en las ratas. Ello le dio pie a teorizar que la rata era la responsable de la epidemias de peste y que las pulgas actuaban como vector. Hasta entonces las ratas causaban daños económicos y eran una molestia. Pero con el descubrimiento de Yersin, pasaron a ser un problema de salud pública. Empezó la tarea de erradicación de las ratas a bordo y en tierra que fue llamada desratización.
Durante la segunda mitad del siglo XIX la peste estaba causando estragos en China. Y a principios del 1900, empezaron a llegar episodios de peste a Occidente. Aparecieron casos en ciudades portuarias, por lo que se puso especial atención a los barcos que llegaban de zonas pestosas. En los puertos se encontraba el médico de Sanidad Exterior que era el responsable de la desratización de los barcos. Se realizaba una inspección a bordo y se capturaban ratas para saber si eran portadoras de la peste. Si se tenía que realizar la desratización, corría a cargo del armador. Se buscaron métodos rápidos y económicos. Y el más práctico, aunque peligroso, era el de la fumigación. Al principio se realizaba mediante el procedimiento llamado de sulfuración que consistía en la quema de azufre en ollas para generar el gas anhídrido sulfuroso. También fue usado el monóxido de carbono y otros gases. Pero hacia la década de 1920 el más utilizado fue el ácido cianhídrico, procedimiento de ciahidrización, que era producido por diversos sistemas.
Visto el problema sanitario que conllevaban las ratas, se buscaron soluciones constructivas para evitar el acceso y movimiento por los barcos. Un importante avance que redujo la presencia de ratas a bordo fue cuando se empezaron a construir de manera que cada compartimento quedara estanco. Esto se hizo para evitar que los incendios se propagaran con facilidad y también cuando un barco tenía una entrada de agua este se fuera a pique rápidamente. Todos estos cambios constructivos dificultó la libre circulación de ratas por su interior. Y a día de hoy, las ratas son algo más bien anecdótico en un barco.
En la construcción a prueba de ratas (rat proofing) para barcos, un elemento que jugó un papel importante fue la protección anti ratas que se coloca en la amarra para evitar que suban a bordo. En la imagen número 1, se puede ver la proa de un barco de carga que se encuentra anclado en un puerto. Se observa que en las amarras hay colocadas las protecciones anti ratas. En la imagen número dos, se puede ver en detalle cómo son las protecciones utilizadas en este barco. Consiste en un dispositivo metálico de una sola pieza que se deja caer sobre la amarra y se mantiene en su sito gracias a una soga atada a la barandilla. Esta protección es uno de los muchos modelos que existen. No es precisamente el que me gusta porque una rata de barco (Rattus rattus) podría sortearlo fácilmente pasando por debajo de la amarra. Quizás una rata de alcantarilla (Rattus norvegicus) no pudiera, ya que no es menos ágil.
La protección anti ratas es un elemento indispensable en un barco. Por lo que he averiguado, nace con el cambio del siglo XIX al XX. Parece que tiene su origen en Inglaterra. En inglés es llamado rat stopper, rat shield o rat guard. Buscando en páginas de patentes, la más antigua que he encontrado es de 9 de marzo de 1901 y tiene como responsable de su invención a Benjamin Joseph Conoley de Londres [1]. Lleva como título ‘An Improved Rat Guard for Ships’ Moorings’, es decir, se trata de una protección anti ratas mejorada. Por tanto, deduzco que este inventor mejoró un modelo que ya estaba en uso. En este punto, no he encontrado por el momento una patente ni imágenes anteriores. Según la descripción de Conoley en su patente, tenía forma de cono.
El 25 de marzo de 1911 fue publicado en el periódico inglés ‘The Illustrated London News’ una noticia titulada ‘Rat-stoppers: barring the way of rodent plague-carriers’ (figura 3). Esta noticia fue acompañada de dibujos que daban a entender en qué consistían los rat-stoppers. Se presenta como un nuevo dispositivo diseñado para que las amarras de los barcos no sean carreteras para las ratas pestosas. Como se puede ver, la forma de este protector no es de cono, sino que es plano. Desconozco el modelo de esta noticia con qué patente de entonces se corresponde. Sin embargo, de principios de la década de 1910 constan dos patentes inglesas. Una fue publicada el 7 de septiembre de 1911 asignada a Harry Kent de Essex y titulada ‘Improved Rat Guard for Ships Moorings and the like’ [2]. Y otra patente fue publicada un año después el 4 de julio de 1912 asignada a John Tombs de Londres y titulada ‘Improvements relating to Rat-guards for Attachment to Hawsers or Ropes Leading from Ship to Shore or the like’ [3].
A partir de la década de 1910, se encuentran publicadas patentes sobre protecciones anti ratas. Un modelo curioso es el que inventó Hamilton Labatt Worthington de Sidney, Australia. Fue patentado en Inglaterra el 20 de abril de 1911 y en Estados Unidos el 11 de febrero de 1913 bajo el título de ‘Rat-trap for use on ships’ hawsers’ [4, 5]. Como se puede ver en la imagen número 4, se trata de una trampa que no solo evitaba que las ratas subieran a bordo, sino que las capturaba. Este diseño inspiró a un buen número de trampas para colocar en la amarra.
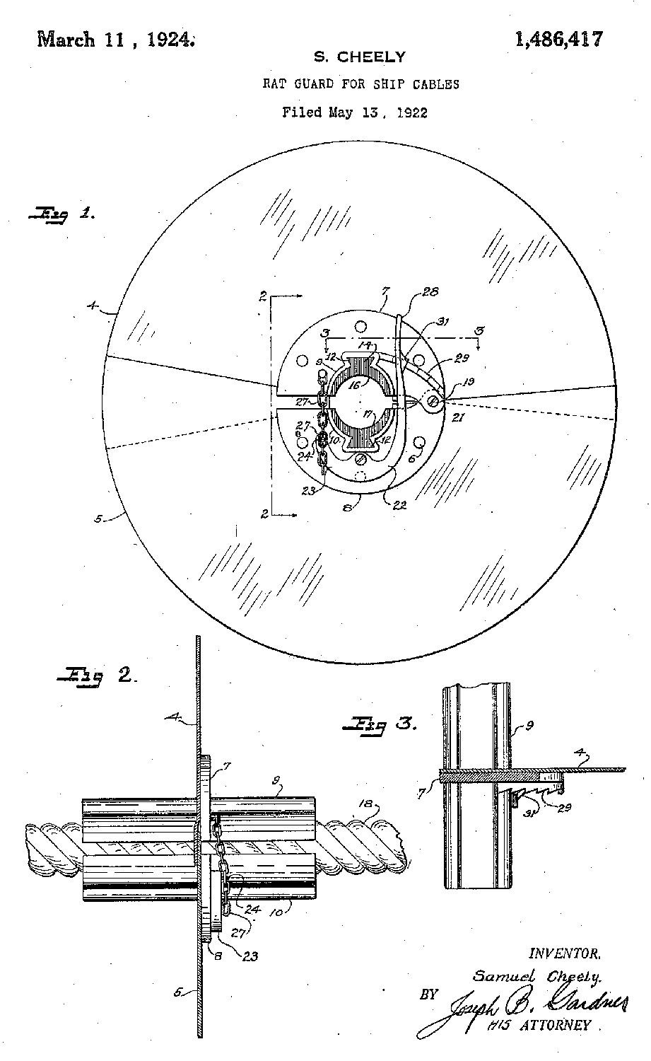
Después de la década de 1910 se encuentran muchas patentes sobre protectores anti ratas. En especial, en Estados Unidos se publican un buen número de ellas. Voy a apuntar algunas. El 11 de marzo de 1924 bajo el título de ‘Rat guard for ship cables’ [6], fue publicado un diseño como el aparecido en 1911 en ‘The Illustrated London News’. Su autor es Samuel Cheely de Lodi, California. Como se puede ver en la imagen número 5, consiste en dos piezas semicirculares de metal que se encuentran sujetas una a la otra en un punto. Se colocan sobre la amarra y se hace girar una pieza sobre otra para que quede el dispositivo ajustado. Se mantiene en su posición gracias a la presión que ejercen las piezas.
En 1926, William A. Mead de Los Angeles, California, presentó dos diseños que daban una vuelta de tuerca al diseño anterior [7, 8]. En la imagen número 6, se puede ver el primero de los dos diseños patentados. Ambos modelos están formados por dos piezas semicirculares que están sujetas una a la otra. Sin embargo, la manera en que están unidas permite que al dejarlas caer sobre la amarra su propio peso las haga girar una sobre otra y queden sujetas a la amarra. Como se puede ver en la imagen, el cabo que sujeta el dispositivo al ser tensado permite que las piezas giren una sobre otra. Se trata de un diseño muy bien pensado que hacía simple su colocación. A partir de este diseño aparecieron otros en la misma línea.
Otro avance a tener en cuenta en la línea de la simplicidad es el dispositivo que se puede ver en la imagen número 7. Es si cabe una vuelta de tuerca más en la evolución del dispositivo anti ratas. La patente fue publicada el 24 de octubre de 1961 por John R. Caldwell de San Francisco, California, bajo el título de ‘Rat guard for ship hawser’ [9]. El dispositivo se deja caer simplemente sobre la amarra, la cual queda rodeada por un elemento plástico y flexible.
Un aspecto a destacar es que casi todos los diseños fueron planos. Sin embargo, hubo algunos con forma cónica. Como antes he comentado, el primero de 1901 tendría esta forma. En Estados Unidos, el más antiguo que he encontrado de tipo cónico es de George Muke de Baldwin, Nueva York. La patente fue publicada el 10 de octubre de 1950 [10]. En la figura número 8 se puede ver cómo era. La forma de embudo asegura más, si cabe, la posibilidad de que las ratas pudieran de alguna manera franquear la protección mediante un salto.
En la actualidad hay en el mercado una gran variedad de dispositivos disponibles. Y además de los metálicos para grandes barcos los hay de plástico para pequeñas embarcaciones. Muchos están diseñados para que la amarra quede totalmente sellada. Pero otros, como el del barco de carga que se puede ver arriba, sencillamente se dejan caer sobre la amarra dejando sin cubrir su parte inferior. Este dispositivo estaría en la línea del diseño de 1959. Desconozco si esta protección es totalmente efectiva para impedir el paso de las ratas como antes he comentado arriba. Por suerte, hoy en día en la mayoría de puertos los múridos se encuentran bastante controlados. Ya no hay el descontrol de antaño donde lo normal era ver ratas. Ahora lo raro suele ser verlas.
Notas:
[1] GB190105003D. An Improved Rat Guard for Ships’ Moorings. Inventor: Benjamin Joseph Conoley, London. Aplication date: 09-03-1901. Publication Date: 20-02-1902.
[2] GB191028561. Improved Rat Guard for Ships Moorings and the like. Inventor: Harry Kent, Essex. Application Date: 08-12-1910. Publication Date: 07-09-1911.
[3] GB191122304D. Improvements relating to Rat-guards for Attachment to Hawsers or Ropes Leading from Ship to Shore or the like. Inventor: John Tombs, London. Application Date: 10-10-1911. Publication Date: 04-07-1912.
[4] GB191024017D. A New or Improved Rat Trap for use on Ship’s Hawsers. Inventor: Hamilton Labatt Worthington, Sidney, Australia. Application Date: 17-10-1910. Publication Date: 20-04-1911.
[5] US1052547A. Rat-trap for use on ships’ hawsers. Inventor: Hamilton Labatt Worthington. Application Date: 26-10-1910. Publication Date: 11-02-1913.
[6] US1486417A. Rat guard for ship cables. Inventor: Samuel Cheely, Lodi, California. Application Date: 13-05-1922. Publication Date: 11-03-1924.
[7] US1641345A. Rat Guard. Inventor: William A. Mead. Application Date: 09-08-1926. Publication Date: 06-09-1927.
[8] US1709225A. Rat Guard, William A. Mead, Los Angeles, California. Application Date: 26-05-1926. Publication Date: 16-04-1929.
[9] US3005436A. Rat guard for ship hawser. Inventor: John R. Caldwell, San Francisco, California. Application Date: 12-01-1959. Publication Date: el 24-10-1961.
[10] US2525234A. Rat Guard. Inventor: George Muke, Baldwin, New York. Appiclation Date: 15-09-1947. Publication Date: 10-10-1950.







No me convence el dispositivo del barco.