Carlos Pradera, Barcelona, 24-01-2016
El control de insectos en cementerios tiene miga. Si la lucha hasta hace poco era contra moscas y coleópteros que se alimentan de cadáveres, en la actualidad hay que sumar a la cucaracha americana que ha encontrado en este lugar otro nicho ecológico. Quizás se podrían rescatar herramientas del pasado como la ideada para la aplicación del insecticida Crypt-Tox, creado por la compañía norteamericana Pepcis Corporation para el control de Megaselia scalaris en nichos [1]. Se publicitaba bajo la frase certera «the top gun in mausuleum pest control». Y desde luego lo era, porque estaba formulado con la materia activa metoxicloro al 50%. Se trata de un organoclorado aromático de estructura muy parecida al DDT que fue descubierto hacia 1945. Por tanto tenía una buena persistencia como para apartar a la mosca jorobada de un bocado tan exquisito.
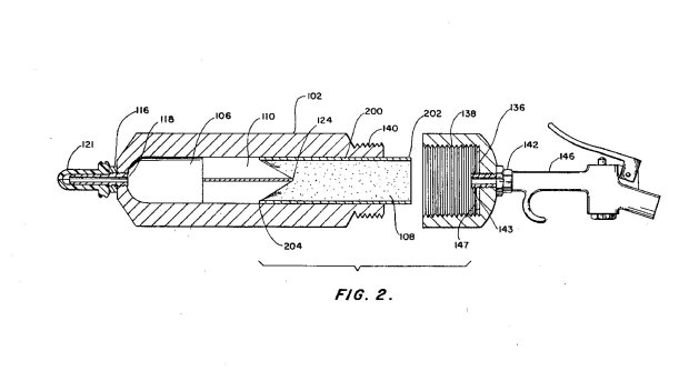
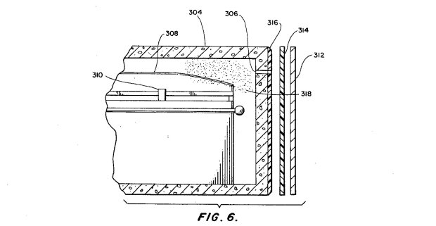
Como se puede ver en las imágenes, Crypt-Tox venía envuelto en un cilindro de cartón que se insertaba en un aparato especialmente diseñado. Más abajo, se pueden ver los dibujos publicados en la patente de este aparato (figuras 5 a 9) [2]. No tiene un diseño complicado. Se trata de una pistola que va conectada a un compresor de aire comprimido. Se inyecta el formulado en polvo en el nicho a través de un orificio practicado en la pared. La patente fue presentada en junio de 1990 y aprobada en septiembre de 1992. Cryp-Tox fue registrado por la US EPA en febrero de 1990 y su registro fue cancelado en marzo de 2001 [3].
No parece que este insecticida y su método de aplicación gozaran de mucho éxito. Es cierto que era un método práctico y fácil de utilizar. Desde un punto de vista de su aplicación, el técnico no entraba casi en contacto con el insecticida. Ahora bien, si se debían hacer trabajos posteriores en el nicho tratado el polvo quedaría activo durante muchos años y sería un inconveniente. Por otra parte, si se elimina el trabajo de los insectos el cadáver quedaría mucho tiempo impidiendo algo tan natural como la degradación de la carne. Y esto implicaría tener más que un cementerio, un lugar lleno de momias. Un compañero del sector me explicó que en el cementerio de Barcelona se hizo una prueba similar en la década de 1990 con dos productos Bayer muy potentes. Aplicados juntos dejaban la superficie totalmente desinsectada durante años. Funcionaba muy bien para evitar las plagas en los cementerios. Pero se desestimó su uso porque, al abrir los nichos para meter otros cadáveres, los tratados no estarían consumidos para hacer sitio.
Notas:
[1] Carlos Pradera. 14-06-2016. Dos habitantes del cementerio. El desinsectador y desratizador.
[2] US Patent 148,627. Method for treating mausoleums against phorid fly infestation. Patented: Sept. 22, 1992. Inventor: Matthew J. Thomas
[3] Datos publicados en: pesticideinfo.org. U.S. EPA Product Reg No: 62876-1. Product Registration Status: Cancelled. Approval Date: Feb 8, 1990. Cancellation Date: Mar 8, 2001.








