C. Pradera, Barcelona, 11-05-2014
Encabezando esta entrada se puede ver un dibujo publicado en 1959 en en el libro ‘Desratización por el empleo de anticoagulantes sanguíneos sintéticos’ de Valentí Matilla y Gonzalo Piédrola [1]. Se trata de una estación de cebado que tiene el nombre de De Ratter Mouser. Fue diseñada para la aplicación de raticidas formulados con sustancias anticoagulantes de primera generación como la warfarina. El cebado con anticoagulantes requería que ratas y ratones comieran varios días seguidos para que la intoxicación se produjera. Por tanto, era necesario dejar cebo suficiente. Una estación como De Ratter Mouser permitía que dispusieran de cebo durante días. Y con ello evitaba un ahorro de tiempo al no tener que reponer los cebos a diario.
Parece que esta estación se exportó y fue usada en España. Así lo atestigua también un libro de 1982 titulado ‘Los múridos y el hombre, elementos de desratización’ [2], donde también aparece un dibujo. Yo no he tenido la suerte de encontrarme con una de estas bonitas estaciones. Aunque sí he visto fotos en páginas de subastas en internet. En la figura 2, se puede ver una imagen de esta estación aparecida a la venta recientemente. Se puede apreciar que es de constitución robusta y fabricada en hierro galvanizado. Tiene letras impresas en las que se puede leer esto: «PATS APPLD FOR De RATTER MOUSER. KEEP FRESHLY FILLED WITH WARFARIN BAIT».
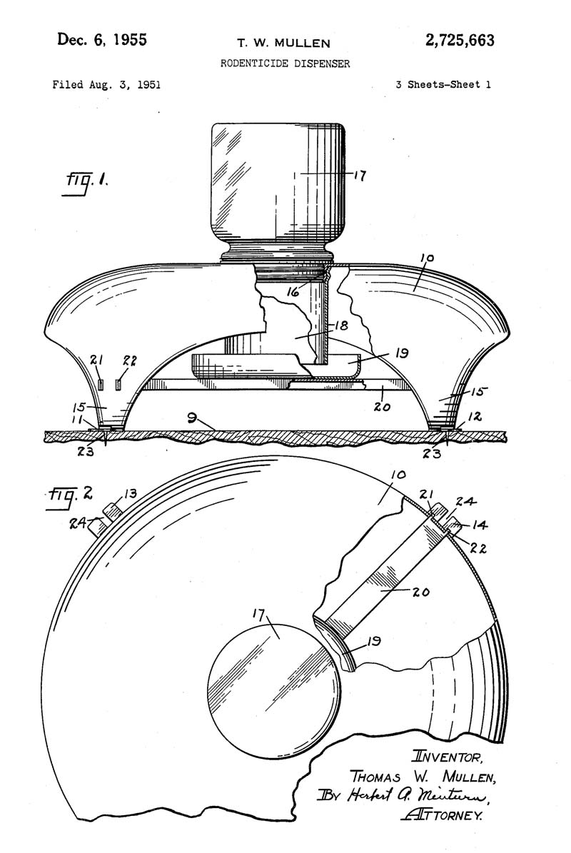
Tal y como se lee en las letras impresas, De Ratter Mouser fue un aparato patentado («PATS APLD»). Esto me ha permitido ahondar un poco más. Buscando en páginas de patentes, he encontrado seis patentes asignadas a un mismo inventor llamado Thomas W. Mullen de Evansville, Indiana [3]. Según parece, esta persona estuvo varios años detrás de la creación de la estación de cebado. En la figuras 3 se puede ver la primera patente que Mullen presentó el 3 de agosto de 1951. Y en la figura 4 se puede ver una patente posterior presentada el 31 de enero de 1952. Se observa que el diseño tuvo un evolución. Y es el segundo diseño el que fue fabricado.
He de hacer constar que se trata de una estación de cebado muy bien ideada. Un detalle importante es que tenía un mecanismo compuesto por varillas que servía para impedir que el grano o la harina atorara el conducto que queda sobre la bandeja. Al entrar la rata en la estación, movía las varillas y ayudaba con esto a que descendiera el cebo. Estas varillas aparecen en una de las patentes.
Notas:
[1] Valentín Matilla Gómez & Gonzalo Piédrola Gil. 1959. Desratización por el empleo de los anticoagulantes sanguíneros sintéticos. Instituto Español de Medicina Tropical, Madrid. 80 páginas.
[2] Rafael Vert Pastor & Juan José Martínez Rodríguez. 1982. Los múridos y el hombre, elementos de desratización; su incidencia en Guipúzkoa. Comisión de Salud y Servicios Sociales, Diputación Foral de Guipúzcoa, Donostia. ISBN 978-84-500-8220-3.
[3] Rodenticide dispenser, US 2725663 A (filling date: Aug 3, 1951). Dispenser of rodenticides, US 2664663 A (filling date: Jan 31, 1952). Stick form rodenticide dispenser, US 2690029 A, (filling date: Feb 2, 1952). Safety rodenticide feeder, US 2725665 A (filling date: Feb 2, 1952). Rodenticide dispenser, US 2725666 A (filling date: Feb 2, 1952). Bait feeder agitator, US 2725664 A (filling date: Aug 3, 1954);







